一、误动作的原因
低压用户的设备或线路除漏电外,还会出现下述问题而引起漏电保护器误动作:
1、 用电装置原来采用保护接零而出现了“重复接地”;
2、 与漏电保护器的零线合用,或与该漏电保护器以外的电气回路互相借用零线;
3、 低压线路原来安装不合理或不合格,如相线、零线混接等;
4、 三相四线负载使用三相三线的漏电保护器;
5、 漏电保护器的接线不当等。
二、防误动作的措施
为了尽可能避免漏电保护器误动作,确保供电的连续性,下面介绍几种防误动作的措施。
1、 在三相四线制电路中,特别是照明与动力共用的线路中,为避免接线错误而引起误动作,可在单相和三相的负载上各自安装漏电保护器,使之分别供电。
2、 对在室外施工时,多路负载共用一台漏电保护器而引起频繁动作的情况,应将分支线路采用分路单独供电方式连接漏电保护器。
3、 用电设备离开装有漏电保护器的配电箱较远时,往往采用电源拖箱解决设备用电。这种拖箱,常常是三相和单相兼用的,用于三相负载设备时没有问题,但用于单相负载设备时,只要一通电,就会引起漏电保护器动作。其防止方法是:将单相插座里的中性线与接地线分开,或将单相、三相各自分开采用移动配电箱。
4、 装有漏电保护器的用电设备与不装漏电保护器的用电设备(指一些不允许和不适合安装漏电保护器的用电设备),不允许共用一组接地装置。因不安装漏电保护器的用电设备因漏电而外壳带电后,其危险的接触电压将由共用的接地线传到装有漏电保护器的用电设备外壳。
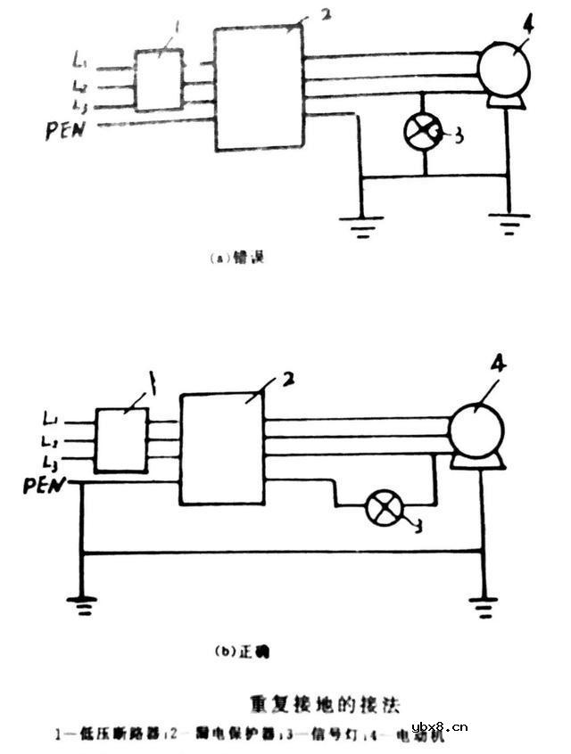
5、 对于保护接零供电系统,若使用单相或三相四线的漏电保护器时,其重复接地只能接在漏电保护器的电源端而不允许接在负载端。否则,会因部分工作电流通过重复接地进入大地而造成误动作。重复接地的接法如下图所示。

若三相负载使用三相三极的漏电保护器,由于中性线只作保护线用,因而中性线的任何一点都可以重复接地。
6、 不论是单相三线制、三相四线(或五线)制的供电方式,应将漏电保护器负载侧使用的中性线通过漏电保护器的零序电流互感器,不得将其跨接或并联跨接至负载侧。同时要注意,电路的中性线必须从漏电保护器的负载侧对大地绝缘。漏电保护器的电源中性线接法如下图所示。

7、 为避免由于电磁感应的干扰使漏电保护器误动作,应尽可能缩短线路长度并将导线穿人管子,采用屏蔽或部分屏蔽措施进行接地。
8、 为防止雷电感应过电压和操作的瞬时过电压等引起漏电保护器误动作,除提高不同相之间的绝缘、采用抑制冲击电压的保护元件或对脱扣器的输人电路进行屏蔽措施外,可采用延时型或冲击电压不动作型漏电保护器。
9、 当水银灯和荧光灯的数量较多,且镇流器安装位置与其距离较远,产生对地静电电容较大而造成的充电电流,会引起漏电保护器误动作。此时,应考虑控制水银灯和荧光灯的数量和安装距离,并在一次侧和二次侧采用绝缘措施。但不能使用自耦式镇流器作为绝缘措施。
10、 因电动机启动电流和开关瞬时脱扣装置的不协调而引起漏电保护器误动作,预防措施是使用适合电动机特性的过电流漏电保护器。
11、 由电焊机冲击电流引起的误动作,因电焊机的容量、电流调整分接头的位置、电源的投入相位、变压器剩余磁通及其磁饱和特性、回路的阻抗等关系而不同。所以,其脱扣器元件动作特性,必须能承受电焊机过渡冲击电流以及电压波动,并带有过电流瞬时脱扣元件的动作特性大于电焊机过渡冲击电流的性能。
12、 漏电保护器中的零序电流互感器出现不平衡电流时会引起漏电保护器的误动作。预防措施是采用高导磁率铁芯材料的配置和线圈之类均等设置,以及进行磁性屏蔽等措施。
突破人形机器人控制器性能瓶颈:高效稳定的...
时间:2026-03-05
一文讲懂开关电源的阻尼振荡
时间:2026-03-05
使用过滤器电容器和诱导器来抑制受辐射的EM...
时间:2026-03-05
智能硬件遭遇销量困局 看社区O2O如何破解
时间:2026-03-05
物联网新时代,关于安全的5大错误认知
时间:2026-03-05
智能停车场一体化控制器方案简述
时间:2026-03-05
ZigBee应用于智能家居是否存在严重漏洞?
时间:2026-03-05
推动物联网发展,供电是基础设备的生命线
时间:2026-03-05
楼宇对讲走向标准化 四大发展方向明确
时间:2026-03-05
最帅“黑”科技:让普通手机可扫描3D
时间:2026-03-05
关于STM32WL LSE 添加反馈电阻后无法起振的...
时间:2026-03-05
3PEAK高压零漂放大器契合精密应用
时间:2026-03-05
绝缘电阻表原理_绝缘电阻表的作用
时间:2026-03-05
绝缘电阻用什么来测量_绝缘电阻测量方法
时间:2026-03-05
气敏电阻的型号命名方法是怎样的
时间:2026-03-05
国巨片式电阻缺货涨价之应对方案 你要知道电...
时间:2026-03-05
RI-80F型高压高阻玻璃釉膜电阻分压器
时间:2026-03-05
电阻的标称阻值和允许偏差
时间:2026-03-05
玻璃釉电容器的结构与特点
时间:2026-03-05
电解电容器的结构与特点
时间:2026-03-05