
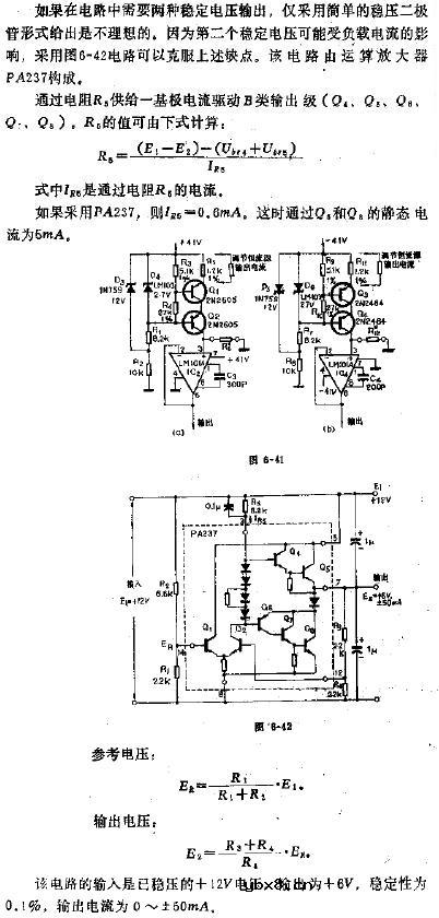
用运算放大器构成的稳压电路图
相关热词:
TIL601~TIL604 LS600 LS602 LS61
时间:2026-03-06
TIL601~TIL604 LS600 LS602 LS61
时间:2026-03-06
TIL601~TIL604 LS600 LS602 LS61
时间:2026-03-06
TIL601~TIL604 LS600 LS602 LS61
时间:2026-03-06
TIL3009~TIL3012参数测量电路图
时间:2026-03-06
TIL3009~TIL3012管脚电路图
时间:2026-03-06
TIL3009~TIL3012管教封装尺寸电路图
时间:2026-03-06
TIL3009~TIL3012逻辑电路图
时间:2026-03-06
TIL3009-TIL3012电阻负载电路图
时间:2026-03-06
TIL3009-TIL3012具有非灵敏栅感性负载的双向...
时间:2026-03-06
彩灯电路
时间:2026-03-05
三相异步电动机原理
时间:2026-03-04
转角测量电路
时间:2026-03-05
经典的正弦波发生电路
时间:2026-03-05
袖珍节拍器电路图
时间:2026-03-05
电度表的工作原理
时间:2026-03-04
电动机单线远程正反转控制电路图
时间:2026-03-04
三相异步电动机的拆装详讲
时间:2026-03-04
三相异步电动机的七种调速方式
时间:2026-03-04
USB转232电路图
时间:2026-03-04