无线比例电机遥控器的设计原理
本文介绍一种无线比例电机遥控器的制作方法。它选用易购元件,具有原理简单、性能可靠的特点。
一、电机遥控路的工作原理
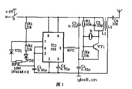
图1为遥控发射电路。555集成块与R1、R2、RP1、VD1、VD2及C1组成一无稳态大范围可变占空比振荡器。图示参数的振荡频率为50Hz左右,通过RP1阻值的调节,占空比的变化范围可达到1%一99%,由③脚输出50Hz方波信号。VT1及外围元件构成晶体稳频电容三点式振荡器,石英晶体的谐振频率选用27.145MHz。本电路采用石英晶体稳频,所以工作可靠。VT1振荡产生的高频载波经555电路③脚的方波信号调制,由天线发射出去。


相关热词:
绝秘代码锁电路
时间:2026-03-07
鸣铃检波电路
时间:2026-03-07
晶体管存储时间测试电路
时间:2026-03-07
电动机相序检测电路图
时间:2026-03-07
改进型哈特莱电路
时间:2026-03-07
发铃信号发生器原理图
时间:2026-03-07
三相电源相序指示器电路图
时间:2026-03-07
通用三角波发生器电路图
时间:2026-03-07
一阶有源相移振荡器电路图
时间:2026-03-07
同时产生三种波形的函数发生器电路图
时间:2026-03-07
彩灯电路
时间:2026-03-05
三相异步电动机原理
时间:2026-03-04
三相异步电动机的七种调速方式
时间:2026-03-04
转角测量电路
时间:2026-03-05
经典的正弦波发生电路
时间:2026-03-05
电动机单线远程正反转控制电路图
时间:2026-03-04
USB转232电路图
时间:2026-03-04
电度表的工作原理
时间:2026-03-04
电风扇红外遥控器2
时间:2026-03-04
三相异步电动机的拆装详讲
时间:2026-03-04