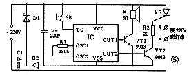
声光电子门铃电路原理图
声光电子门铃是为家中耳背(听力不好)的老人或聋人特别设计的一款新型电子门铃。图5是声光电子门铃电路原理图。IC有2路输出信号:OUT1经过三极管VT1放大后推动扬声器B发出音乐声;OUT2通过VT2和电阻R2触发可控硅VS导通工作,带动彩灯串闪亮。当来访者按动门铃按钮时,彩灯伴随着音乐声同步闪烁。这种彩灯音乐门铃,同样适合普通家庭或办公室等场合使用,特别是逢年过节,更可增添节日气氛。

相关热词:#门铃
短路开关工作原理
时间:2026-03-07
场效应晶体管开关电路
时间:2026-03-07
J-FET开关电路工作原理
时间:2026-03-07
MOS-FET开关电路
时间:2026-03-07
CMOS双向开关工作原理
时间:2026-03-07
振幅调制的传输方式
时间:2026-03-07
调幅信号的性质
时间:2026-03-07
调幅电路工作原理--高电平调幅电路
时间:2026-03-07
调幅电路工作原理--低电平调幅电路
时间:2026-03-07
检波的基本概念
时间:2026-03-07
彩灯电路
时间:2026-03-05
三相异步电动机原理
时间:2026-03-04
三相异步电动机的七种调速方式
时间:2026-03-04
转角测量电路
时间:2026-03-05
经典的正弦波发生电路
时间:2026-03-05
电动机单线远程正反转控制电路图
时间:2026-03-04
电度表的工作原理
时间:2026-03-04
电风扇红外遥控器2
时间:2026-03-04
三相异步电动机的拆装详讲
时间:2026-03-04
USB转232电路图
时间:2026-03-04