智能电表是打造智能家居的核心。能够测量家庭的整体用电量并将该数据反馈给公用事业公司是管理公用电网负载并最终减少消费者账单的关键要素。
使用最新的射频模块为电表添加无线连接相对简单。这些提供了经认证可在特定地区使用的所有射频连接。但是,这些模块需要连接到仪表才能直接获取数据,或者连接到正在获取电流消耗的传感器。这可以通过一个低成本的 8 位微控制器相对容易地完成。
使用未调节的低于 1 GHz 的频段对智能电表设计具有许多优势。较低的频率为较长的距离传输较低的数据速率,为系统设计人员提供了显着的优势。智能电表每天只需发送几次少量数据,因此数据速率较低。这允许使用更长的范围,并且与 ZigBee 等可以在 2.4 GHz 传输更多数据的协议有很大不同。使用 sub 1 GHz 频段还可以避免来自 2.4 GHz 源(如 Wi-Fi、蓝牙和微波炉)的潜在干扰,这进一步降低了建立可靠无线链路所需的功率。
德州仪器 (TI) 的最新射频芯片已被证明可以在这些较低频率下在长达 10 公里的距离内传输低速率数据(几 kbyte/s)。这有两个优点:可以将更多设备连接到单个集线器或集中器,或者可以显着降低射频收发器的功耗。这允许系统架构师优化功耗和覆盖范围的平衡。例如,可以通过低于 1 GHz 的链路将多条房屋街道连接到街道上的集中器,从而避免每个家庭都需要宽带集线器。
根据系统架构,模块支持不同的无线网络拓扑,例如点对点、点对多点、对等和网状网络。网状网络允许相邻单元连接在一起并承载数据,从而大大扩展了覆盖范围。这会影响数据速率,但对于智能电表网络而言,对于节省成本而言,覆盖范围远比数据速率更重要,并且有足够的余量来支持网状网络。
RF 模块 Anaren
的A1101R04C是一个很好的 1 GHz 以下 RF 模块示例,可用于智能电表设计,将晶体、内部稳压器、匹配电路和滤波集成到表面贴装设计中,可轻松实现安装在板上。
9 x 12 x 2.5 mm 模块通过 U.FL 连接器使用外部天线,适用于 433.05 至 434.79 MHz 的欧洲频段,非常适合实现低功耗无线连接,而无需处理大量的射频设计和法规遵从性,以及提供快速的上市时间。

图 1:A1101R04C 低于 1 GHz 的射频模块。
这些模块经过 100% 测试以提供一致的性能,并且模块化认证允许 OEM 将带有批准天线的模块放置在成品中,而无需对有意辐射器进行昂贵的监管测试。
天线设计
对于将设备安装在家庭中的智能电表等应用,全向天线方向图允许设备在任何方向上同样良好地工作。类似地,对于点对点或点对多点应用程序,需要全向模式,以便所有节点都有公平的通信机会。A1101R04C 具有经过批准的近全向单极天线,但需要注意的是,末端辐射方向图不仅取决于天线,还取决于接地平面、外壳和安装环境。
天线匹配为发射放大器提供正确的负载以实现最高输出功率,以及为接收低噪声放大器 (LNA) 提供正确的负载以实现最佳灵敏度和所需范围。模块中的电源管理确保了内部功能的稳定供电,并提供了低功耗睡眠模式的手段(在这种情况下,大部分收发器都处于关闭状态)。
界面
物理层提供数据、符号和射频信号之间的转换,而 MAC 层是逻辑链路层的一部分,提供帧处理、寻址和介质访问服务。物理层和 MAC 层的寄存器和命令都通过 SPI 串行接口暴露给微控制器,这可以由Microchip PIC12等 8 位微控制器处理。下面详细讨论如何使用 PIC12 以及如何实现 SPI 接口。
物理层和 MAC 层功能通过 SPI 总线通过可寻址寄存器和执行命令进行访问。接收或发送的数据也通过 SPI 总线访问,并作为 FIFO 寄存器实现(Tx 和 Rx 各 64 字节)。
传输时,将一帧数据放入 FIFO;这可能包括目标地址。给出一个发送命令,它将根据寄存器的初始设置发送数据。要接收数据,会给出一个接收命令,该命令使单元能够“监听”传输,并在发生传输时将接收到的帧放入 FIFO。当既不需要发送也不需要接收时,器件可以进入空闲模式,从中可以快速重新进入接收或发送模式,或者进入低功耗睡眠模式,在发送或接收操作之前也需要晶体启动。
使用模块
该模块基于德州仪器的CC1101收发器 IC. 收发器的所有控制线都在模块级别提供,以完全控制其操作。

图 2:A1101R04C 低于 1 GHz 射频模块中的 CC1101 收发器。
在寄存器的初始设置之后,模块可以以几种不同的方式运行。对于不频繁数据传输的应用,收发器将处于“睡眠”模式以节省功率 (200 nA)。从那里它会醒来,然后进入“空闲”模式。作为唤醒过程的一部分,晶体振荡器启动(大约 240 μs)并且微控制器接口上电。在发送或接收之前,需要启动频率合成器(“FS_Wakeup”),并且在关闭电源(或空闲一段时间)后,需要校准 VCO/PLL 的控制环路。
数据帧被加载到发送 FIFO 并进入 TX 模式。收发器将传输数据并在完成后进入“空闲”模式。发送完成后,进入 RX 模式等待确认帧。一旦接收到一帧,收发器将再次进入“空闲”模式。如果在给定的超时时间内没有接收到确认帧,则将重新传输数据帧。如果确认帧表明数据已收到,则将发送下一个数据帧。最后一个数据帧发送成功后,收发器将再次进入“睡眠”模式。
为了符合欧洲的输出功率限制,如果模块以 10% 的占空比运行,则最大输出功率为 10 mW (10 dBm)。如果需要 100% 占空比,全时运行,那么对于带宽小于 250 kHz 的信号,输出功率应限制为 1 mW (0 dBm),对于大于 250 kHz 的信号,输出功率应限制为 -13 dBm/10 kHz千赫。
需要注意的是,模块的输出功率会随着环境温度的变化而变化。为了获得最佳范围并同时保持认证合规性,可以根据温度调整输出功率,以在整个温度范围内保持近似恒定的输出功率。如果未实施温度相关控制,用户必须对所有温度使用最低功率值,以将功率保持在认证限制内。
与智能电表接口
模块与系统其余部分之间的链接是 SPI 串行,这可以通过相对简单的微控制器(例如 Microchip PIC12)来处理。如果仪表已经是数字的,这可以从仪表中获取数据,或者使用集成的模数转换器来转换来自霍尔效应电流传感器(例如Melexis MLX91205或Allegro Microsystems ACS711 )的信号。这些可以直接从现有的仪表系统测量功率。
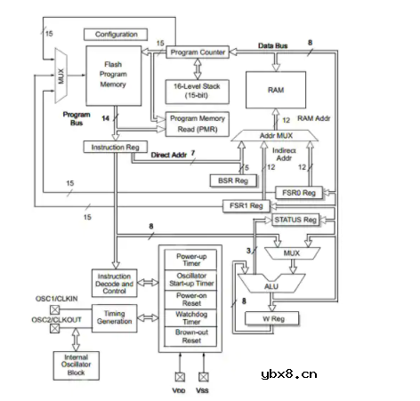
PIC12微控制器
PIC12 使用具有 49 条指令的增强型中档 8 位 CPU 内核、具有自动上下文保存功能的中断功能以及具有上溢和下溢复位功能的 16 级硬件堆栈。为了提高编码的灵活性,提供了直接、间接和相对寻址模式,并且两个文件选择寄存器 (FSR) 提供了读取程序和数据存储器的能力。

图 3:PIC12 微控制器显示了用于连接射频模块的 SPI 接口,以及用于连接霍尔效应电流传感器等外部设备的模数接口块。
SPI 接口
SPI 接口是将射频模块连接到系统其余部分的关键。该同步协议允许主设备发起与从设备的通信以交换数据。它通过一个称为同步串行端口或主同步串行端口的硬件模块在 PICmicro MCU 中实现。该模块允许两个或多个设备之间的高速串行通信,并且相当容易实现。

图 4:PIC12 微控制器的内核显示了 SSP 和 MSSP 模块。
时钟信号由主机提供以提供同步并控制数据何时可以更改以及何时可以读取。由于 SPI 是同步的,它与数据一起具有时钟脉冲,这使其不同于 RS-232 和其他不使用时钟脉冲的异步协议,因此需要准确的时序。这意味着时钟可以在不中断数据的情况下发生变化,因为数据速率只会随着时钟速率的变化而变化。当微控制器的时钟不精确时,这使得 SPI 非常理想,例如通过低成本 RC 振荡器。
传输数据时,必须先读取传入数据,然后再尝试再次传输。如果输入的数据没有被读取,那么数据将会丢失并且 SPI 模块可能因此被禁用。始终在传输发生后读取数据,即使数据在应用程序中没有用处。每个设备都有两条数据线,一条用于输入,一条用于输出,但数据始终在 SPI 设备之间交换 - 没有设备可以只是“发送器”或“接收器”。这些数据交换由主设备控制的时钟线 SCK 控制。数据通常在 SCK 的上升沿或下降沿发生变化。
通常,从设备选择信号将控制何时访问设备。当系统中存在多个从机时,必须使用此信号,但当电路中仅存在一个从机时,该信号是可选的。该从设备选择 (SS) 信号向从设备指示主设备希望在该从设备与其自身之间启动 SPI 数据交换。该信号通常是低电平有效,因此这条线上的低电平表示 SPI 处于活动状态,而高电平表示不活动。它通常用于提高系统的抗噪能力。它的功能是复位 SPI 从机,使其准备好接收下一个字节。
SSP 或 MSSP 控制器模块允许实现 SPI 或 I²C。MSSP 中的“M”代表“Master”,与它如何处理 I²C 数据有关,因此它不会影响其 SPI 性能,因此 MSSP 或 SSP 模块均可用于 SPI。
SSPSR 是 SPI 模块的移位寄存器,将数据移入和移出器件。数据循环传送到下一个移位寄存器,从 PIC12 的 SDO 引脚移出并进入 RF 模块的 SDI 引脚。一旦两个器件之间交换了一个字节的数据,它就会被复制到 SSPBUF 寄存器中。SSPBUF 然后由用户软件读取。
仪表的使用日期由用户代码写入 SSPBUF,然后自动传输到 SSPSR。
以 PIC 作为主机,此过程将启动数据传输。从机选择信号通过拉低以启动 SPI 传输来激活,一旦完成一个字节传输就返回高状态。
结论
低于 1 GHz 的免许可频段为智能电表的低成本、低功耗链路开辟了机会。避免 2.4 GHz 频段的干扰以及更大的穿透力,可实现更长的覆盖范围和更低的功耗,这两者都有助于降低系统成本。借助预先批准的射频模块,这些无线链路可以轻松添加到电表设计中。然后可以使用低成本、简单的微控制器来处理模块与仪表其余部分以及其他传感器之间的 SPI 接口。所有这些结合起来为智能电网提供了坚固、可靠的系统设计。
相关热词:#智能电网
什么是CBB电容,什么是独石电容,什么是电解...
时间:2026-03-05
标称容量与允许偏差
时间:2026-03-05
电容器的构成
时间:2026-03-05
电容器的型号命名方法
时间:2026-03-05
电容器的种类
时间:2026-03-05
电容器在电路中的作用
时间:2026-03-05
电容的额定电压
时间:2026-03-05
电容器的温度系数
时间:2026-03-05
电容器的抗电强度
时间:2026-03-05
电容器的绝缘电容
时间:2026-03-05
什么是单母线接线?主接线的普遍规律
时间:2026-03-05
未来什么技术占主流?会是区块链吗?
时间:2026-03-05
浅谈区块链下的智能合约
时间:2026-03-05
浅显易懂地揭开.Net生态系统的神秘面纱!
时间:2026-03-05
对技术的执着和美的追求变成了程序员的“诗...
时间:2026-03-05
什么是区块链技术_区块链技术解析
时间:2026-03-05
智能电网的未来发展趋势
时间:2026-03-05
变电站的分类 变电站与住宅的安全距离
时间:2026-03-05
智能电网的内涵及其作用
时间:2026-03-05
智能电网体现在哪里?
时间:2026-03-05