电工问答2026-03-05
今年是日本相机品牌尼康诞生100周年,但尼康这个“百岁寿诞”并不好过。
电工问答2026-03-05
创业时代,每一天都有无数的公司雄心勃勃地宣告诞生,也有无数的公司终于难以为继。尼康中国没有坚持过这个秋天。
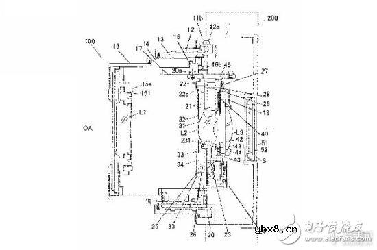
尼康公布自家新款可折叠式无反镜头专利
电工问答2026-03-05
如果今年尼康佳能都能如之前表示的那样,会推出全画幅无反相机的话,那毫无疑问不仅会对索尼全画幅无反相机“老大”的地位造成一定威胁,也可能带来一次全画幅无反相机的新浪潮。不过这都建立在“如果尼康佳能发
电工问答2026-03-05
尼康新机S60007倍光变 高清动画 长焦相机在市场上一直有着很高的人气,最近尼康一款便携长焦S6000就出现到了市场,其采用1/2.3英寸1420万像素的CCD传感器,使用一块2.7英寸23万像素的LCD显示屏,相机感光度范围是I
电工问答2026-03-05
12月2日消息,在WestLicht第30届相机拍卖会上,一台尼康I型相机成为全场焦点,该相机起拍价9万欧元,最终被一位收藏夹以38.4万欧元买下,这也创造了尼康相机有史以来最高的拍卖价。
电工问答2026-03-05
尼康D40数码单反相机 尼康D40数码单反相机 尼康D40数码单反相机 这款机器整机的重量只有475克,三围尺寸为126×94×64mm,本身具有黑色和银色两种机身色彩,由于外型设计得非常紧凑,所以干脆取消了机顶信息
三种接地刀闸操作方法 为什么要进行接地刀闸...
时间:2026-03-05
保护装置如何配置 保护装置原理图
时间:2026-03-05
分频风电系统的结构及基本原理
时间:2026-03-05
PowerPC处理器
时间:2026-03-05
什么是RISC型CPU
时间:2026-03-05
什么是SPARC处理器
时间:2026-03-05
什么是PA-RISC处理器
时间:2026-03-05
什么是MIPS处理器
时间:2026-03-05
处理器主频
时间:2026-03-05
CPU核心
时间:2026-03-05
瞬间抑制二极管(TVS)/瞬间抑制二极管(TVS)是...
时间:2026-03-04
什么是霍尔传感器
时间:2026-03-05
半导体材料的主要种类有哪些?
时间:2026-03-04
高级封装,高级封装是什么意思
时间:2026-03-04
数字比较器,数字比较器是什么意思
时间:2026-03-04
常用整流二极管型号大全
时间:2026-03-04
S/HS固态继电器原理简介
时间:2026-03-04
稳压二极管的选用和代换
时间:2026-03-04
TVS器件的电特性有哪些
时间:2026-03-04
TVS二极管的分类/应用,TVS二极管的特点/选用...
时间:2026-03-04